Une journée complète ou plus
Intermédiaire
75 $ – 100 $
Introduction
Avec une seule feuille d’OSB et une journée en magasin, ce projet de table basse vous fera repenser votre position sur les meubles en contreplaqué.
Il y a quelques années, je me suis vraiment intéressé aux échecs – de manière embarrassante. Je me souviens très bien d’être assis dans mon magasin, venant de terminer un jeu sur mon téléphone, lorsque j’ai décidé de construire mon propre plateau. En scannant le support à bois, tout ce que j’avais à travailler était un morceau de MDF et un morceau d’OSB récupéré d’une caisse d’emballage. Alors je me suis lancé. Une fois que j’ai tout poncé et laqué, je ne pouvais pas croire à quel point l’OSB fini était beau.
Avance rapide jusqu’à aujourd’hui : pour le 75e anniversaire de Family Handyman, nous lançons un concours mettant les lecteurs au défi de construire un projet de contreplaqué à partir d’une seule feuille de contreplaqué 4×8. J’ai pensé que je revisiterais cette même idée – j’ai donc construit une table basse à partir d’une seule feuille d’OSB 3/4″ à 22 $. Voici comment j’ai procédé.
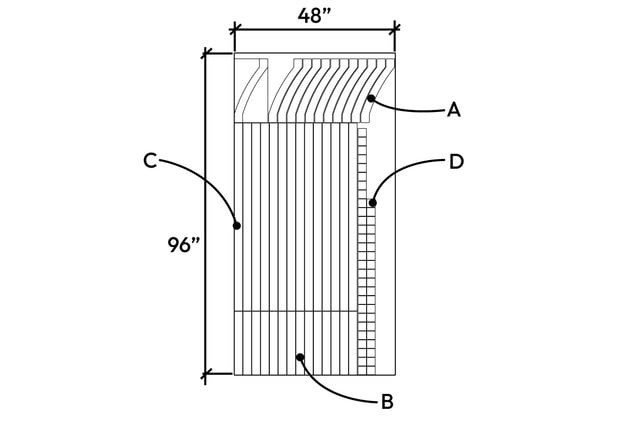
Fig. A : Aperçu du projet

Fig. B : Diagramme de coupe du contreplaqué

Fig. C : Modèle de corbeau

Liste de coupe
| CLÉ | QTÉ. | PARTIE | DIMENSIONS |
| UN | 12 | Corbeau | 3/4″ x 3-9/16″ x 21-1/2″* |
| B | 14 | Jambe | 3/4″ x 2-1/2″ x 19″ |
| C | 14 | Haut | 3/4″ x 2-1/2″ x 56″ |
| D | 48 | Entretoises | 3/4″ x 2-1/2″ x 2-1/2″ |
* – Forme organique. Voir la figure C.
Outils requis
- Embout Forstner 1 1/8”
- 18-ga. cloueur de finition
- Foret 7/16″
- Pinces
- Perceuse à colonne
- Perceuse/visseuse
- Scie à métaux
- Scie sauteuse ou scie à ruban
- Maillet
- Lime en métal
- Scie à onglet
- Jeu de clés à fourche
- Ponceuse orbitale / ponceuse à bande
- Jeu de cliquets et de douilles
- Règle
- Scie à table
- Scie à chenilles
Matériel requis
- Panneau OSB 1 – 3/4″x4x8′
- Clous de finition 1-1/4″ calibre 18
- écrous 3/8″
- Rondelles 3/8″
- Tige filetée 6 – 3/8″ x 3′
- Papier de verre assorti
- Colle CA
- Polyuréthane
- Acheter des chiffons
Projet étape par étape (9)
Couper le haut de la feuille
Utilisez une scie à chenilles pour couper les 20-3/4 pouces supérieurs. sur la feuille 4×8. Réservez-le pour la découpe du gabarit d’encorbellement et de tous les encorbellements (A).

Déchirez les bandes du reste de la feuille
Coupez 16 bandes de contreplaqué mesurant 2-1/2 po. large du grand morceau de contreplaqué restant. Assurez-vous que la première bande est coupée légèrement plus large, puis coupez-la à 2-1/2 pouces. de sorte que le bord peint en usine ou la languette et rainure OSB peuvent être retirés.

Coupez les rayures
Sur la scie à onglets, coupez les 16 bandes dans les pieds (B), les pièces supérieures (C) et les entretoises (D).
Pour 14 des bandes, faites une seule coupe pour séparer la jambe de la pièce supérieure. Assurez-vous que le bord d’usine est positionné au bas de chaque pied (B) si votre drap est sous-dimensionné comme le mien.
Les deux dernières bandes seront découpées dans les 48 entretoises.

Réaliser le modèle de corbeau
Coupez un 10 pouces. x 19 pouces. équerrez la partie de la feuille 4 × 8 que vous avez initialement coupée avec la scie à chenilles.
Dessinez le modèle de corbeau (A) sur la feuille comme sur la figure C ci-dessus. Dessiner une arche lisse est la partie la plus difficile de ce processus. Cela peut être accompli en enfonçant quelques clous aux extrémités et au sommet des deux arcs, en pliant une règle métallique le long de ces points et en la traçant.
Une fois le corbeau (A) dessiné, découpez-le à l’aide d’une scie à ruban ou d’une scie sauteuse. Poncez rapidement les bords pour vous assurer qu’ils sont lisses.

Faire les corbeaux
Tracez et découpez grossièrement les 11 derniers corbeaux (A) du reste de la feuille. Faites-les légèrement plus grands que le modèle pour vous assurer qu’après le routage, ils seront tous presque identiques.
Utilisez du ruban adhésif double face résistant ou quelques vis pour fixer le gabarit sur un corbeau grossièrement découpé (A). Ensuite, à l’aide d’une table de toupie équipée d’une fraise à coupe droite avec un roulement en bas, fraisez le corbeau (A) en faisant passer le roulement le long du bord du gabarit, reproduisant ainsi le gabarit.
Répétez ce processus jusqu’à ce que vous ayez 12 corbeaux correspondants.

Percer des trous pour la tige filetée
Une fois toutes les pièces coupées et façonnées, il est maintenant temps de percer 7/16 po. trous pour le 3-8 pouces. tige filetée qui maintiendra la table basse ensemble.
Au bas des quatre pieds orientés vers l’extérieur (B) et aux quatre emplacements des trous, sur les deux pièces supérieures orientées vers l’extérieur (C), percez des trous de 1/2 pouce de profondeur avec une mèche de 1-1/8 po. Foret Forstner pour fraiser les écrous et rondelles aux extrémités de la tige filetée.
Ensuite, construisez un gabarit simple et fixez-le à la perceuse à colonne pour centrer les trous de 7/16 de pouce sur les entretoises (D). En utilisant le même gabarit et la même configuration, percez des trous aux extrémités de chaque pied (B) et corbeau (A).
Ensuite, fabriquez un autre gabarit pour percer les deux ensembles de trous sur les pièces supérieures (C) : une paire centrée à 3-3/4 pouces de chaque extrémité et une autre à 11-1/4 pouces.
Installez soigneusement la perceuse à colonne pour vous assurer que les trous sont percés droits, centrés et alignés sur toutes les pièces.

Poncez les composants en douceur
Après des heures à percer des trous avec la perceuse à colonne, il est temps de poncer. Malheureusement, c’est un autre long processus. Poncez et cassez les bords des six côtés de chaque pièce avec du papier de verre grain 150. Pour ceux qui utilisent des panneaux OSB comme moi, faites très attention à ce que le côté rugueux soit aussi lisse que possible. Utilisez n’importe quel type de ponceuse dont vous disposez, ou une combinaison de plusieurs. En fin de compte, j’ai utilisé une ponceuse orbitale aléatoire pour la plupart des OSB, et une ponceuse à bande suivie d’une ponceuse orbitale aléatoire pour les côtés rugueux.

Appliquer du polyuréthane
Appliquez au moins deux couches de poly essuyable sur les six côtés de chaque pièce supérieure (C), pied (B), corbeau (A) et entretoise (D). Donnez suffisamment de temps de séchage et poncez avec du papier de verre grain 220 entre chaque couche. En plus d’offrir une certaine protection aux pièces, le poly permet également de faire ressortir la multitude de couleurs de l’OSB.

Assemblez le tableau
Garder les pièces en ordre est important, alors fixez les 48 entretoises (D) à l’aide de colle CA et de 1-1/4 po. clouez les pièces supérieures (C), les pieds (B) et les corbeaux (A) à côté desquels ils seront assemblés. Assurez-vous que les bords de l’entretoise et 7/16 po. les trous s’alignent avec la pièce à laquelle il est attaché.
Après avoir placé les pièces du dessus de table (C) face cachée sur votre banc, disposez le reste des pièces dans l’ordre. Assurez-vous que les pieds extérieurs (B) et les pièces supérieures (C) sont fraisés de 1-1/8 po. les trous sont tournés vers l’extérieur.
Lorsque toutes les pièces supérieures (C), les pieds (B) et les corbeaux (A) sont alignés à une extrémité, enfilez la tige filetée dans le trou en haut des pieds (B) et le trou le plus à l’extérieur des pièces supérieures (C) avec un contre-écrou en nylon et une rondelle serrés à une extrémité. Ajoutez la rondelle et serrez légèrement l’écrou de l’autre côté pour qu’il y ait encore du jeu dans la tige.
Ensuite, enfilez sans serrer les tiges au bas des pieds (B) et une autre là où les trous intérieurs des pièces supérieures (C) s’alignent avec le trou supérieur des corbeaux (A). Et enfilez les trois tiges de l’autre côté.
Commencez à serrer chaque tige petit à petit avec un cliquet dans une main et une clé à fourche dans l’autre, en vous arrêtant de temps en temps pour vous assurer que les pièces sont bien alignées. Utilisez des pinces et un maillet pour aligner les pièces tenaces.
Après avoir serré la tige filetée jusqu’à ce que vous ressentiez une certaine résistance, mais pas si fort que la rondelle s’enfonce dans l’OSB, vous pouvez couper la tige filetée au ras des extrémités des écrous à l’aide d’une scie à métaux et les limer si nécessaire.

FAQ
Comment finir les meubles OSB ?
Pour bien finir les meubles OSB, scellez leur surface poreuse avec deux ou plusieurs couches de polyuréthane, de résine époxy ou, si vous peignez, un apprêt suivi de la peinture de votre choix, en ponçant entre les couches avec du papier de verre grain 220.
Quelles sont les longueurs des tiges filetées ?
En général, les tiges filetées sont disponibles en longueurs de 3, 6, 10 et 12 pieds et peuvent être coupées selon vos spécifications.
Existe-t-il différentes qualités d’OSB ?
Oui, il existe quatre grades d’OSB : OSB1, OSB2, OSB3 et OSB4 (bien que parfois considérés comme OSB/1, OSB/2, etc.).
- OSB1 convient aux conditions sèches et aux applications intérieures générales (y compris les meubles).
- OSB2 convient aux conditions sèches et à un usage intérieur général, mais est également porteur.
- OSB3 est la qualité la plus couramment utilisée dans l’industrie de la construction, un panneau porteur adapté à une utilisation dans des conditions humides et humides.
- OSB4 sont des panneaux porteurs robustes adaptés aux conditions humides et humides.







